Цифровая радиография: контроль «на режиме» при температурах выше 70°C

Цифровая радиография: контроль «на режиме» при температурах выше 70°C
29 июня 2020
Испытания комплекса «Цифракон 2532» на контроле технологического трубопровода

Продемонстрировано в проекте ПАО «Роснефть» на ЗАО «Куйбышевский нефтеперерабатывающий завод».



Рассмотрим задачу проведения контроля сварных соединений с помощью комплекса цифровой радиографии «Цифракон».

Объектом контроля будут технологические трубопроводы «на режиме» Ø до 325 мм, с толщинами до 12 мм.

Контроль будем проводить с учетом требований ГОСТ 7512-82
и ГОСТ 17636-2-2017. Отбраковку —  с учетом требований ГОСТ 32569-2013.

Цифровая радиография: контроль «на режиме» при температурах выше 70°C фото 1Объект контроля — технологический трубопровод

Подготовка к проведению контроля

Трубы покрыты изоляцией из минваты и оцинковки суммарной толщиной до 100 мм. Температура на поверхности оцинковки
70-90°C, на поверхности объекта контроля — порядка 350°C. Изоляцию можно было снять, но внеплановая остановка производства была недопустима. 

Внутренняя среда – гудрон, мазут, рециркулят гудрона и другие нефтепродукты. Есть сложность создания требуемой безопасной радиационной зоны ввиду конструкции трубопровода. 

Выбор метода

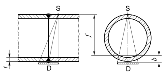
Цифровая радиография: контроль «на режиме» при температурах выше 70°C фото 2 Схема просвечивания через 2 стенки из ГОСТа

В заданных условиях проведение УЗК затруднено, как и классического РК на плёнку. Также при классической радиографии на персонал пришлась бы избыточная радиационная нагрузка.

Просвечивать будем через две стенки с применением плоского детектора
согласно ГОСТ 17636-2-2017

 

Выбор оборудования и расходников

Для демонстрации и проведения испытания используем рентгентелевизионный комплекс «Цифракон 2532» в комплекте с рентгеновским аппаратом Eresco 42 MF4.

На детектор установим дюралюминиевую пластину для отвода тепла и увеличения производительности оборудования.

Цифровая радиография: контроль «на режиме» при температурах выше 70°C фото 3Плоскопанельный детектор комплекса цифровой радиографии «Цифракон 2532»

Процесс проведения контроля

Для направленного рентгеновского аппарата Eresco 42 MF4 просвет по стали за 10 мин составляет 42 мм.

Номинальный размер трубопровода Ø 25х4 Ø 57х6 Ø 89х6 Ø 108х8 Ø 159х10 Ø 219х12 Ø 273х16 Ø 325х16
Ø с учетом изоляции 100 мм 225 257 289 308 359 419 473 525
Количество перестановок оборудования 4 4 4 6 6 6 6 6

Экспозиции в режиме съемки

    сек/снимок Ø трубы, мм рабочая среда изоляция
T1 10х3.00 30  219 тяжелый вакуумный газойль есть
T2 30х3.00 90  273 мазут есть
T3 30х4.00 120  325 гудрон, циркулят гудрона есть
T4 40х0.30 12  89 мазут есть
Цифровая радиография: контроль «на режиме» при температурах выше 70°C фото 4 Снимок 1 на плоскопанельный детектор
Цифровая радиография: контроль «на режиме» при температурах выше 70°C фото 5 Снимок 2 на плоскопанельный детектор

Выводы

Применение комплекса «Цифракон»:

  • позволяет провести рентгеновский контроль с учетом требований ГОСТ 7512-82 и ГОСТ-17636-2-2017.
  • снижает радиационный фон по сравнению с контролем на пленку;
  • при остановке оборудования на промышленных технологических объектах — сокращает время на ремонт;
  • быстрое принятие решения за счет получения результата на месте дает возможность улучшить технические и конструкционные характеристики устройства в перспективе;
  • допустимо при температуре поверхности от -20°C до +50°C, возможно применение при температурах от +50°C до +100°C в течение 1-1,5 часов;
  • подходит для контроля труб с такими продуктами внутри, как тяжелый вакуумный газойль, гудрон, рециркулят гудрона, мазут и подобные им.

 

350°C 

Температура объекта контроля под изоляцией

Где можно применить опыт проекта

При контроле технологических трубопроводов, покрытых изоляцией с толщиной 100 мм и оцинковкой «на режиме»
для таких продуктов, как тяжелый вакуумный газойль, гудрон, рециркулят гудрона, мазут и подобных.

Введите ваше Имя и Фамилию:

Отправить

или

Войдите, чтобы оставить комментарий