
Современные конструкции нередко работают в условиях, когда нагрузка циклична и прилагается в разных направлениях: различные валы, шестерни, элементы подвески автомобилей и так далее. Во время эксплуатации в деталях накапливаются микродефекты, которые позже объединяются в трещину, что приводит к разрушению детали. Опасность и коварство этого явления заключается в отсутствии видимой деформации и внезапности разрушения. Первые работы, связанные с изучением усталостной прочности осей вагонов, выполнены в Англии в 1848—1850 гг.
Усталость – это постепенное накопление микроповреждений в материале под действием циклических нагрузок (растяжение–сжатие, изгиб, кручение), приводящее к образованию и росту трещины и, в итоге, к внезапному разрушению. Способность материала сопротивляться усталости – выносливость.
Важно: при статической нагрузке деталь может служить десятилетиями, но если ту же нагрузку многократно повторять, срок службы резко сократится.
Классическим и самым наглядным примером важности высокой выносливости материала можно назвать авиацию. В условиях полета нет возможности в любой момент приземлиться, поэтому критически, чтобы при наличии повреждений самолет мог добраться до аэродрома. Поэтому в авиации применяют материалы и сплавы, которые не позволяют распространяться трещине слишком быстро и приводить к хрупкому разрушению.
Усталостная трещина зарождается чаще всего на поверхности или вблизи поверхности образцов или деталей, где напряжения от внешней нагрузки достигают максимальных значений. Зарождение трещин облегчается наличием различного рода концентраторов напряжения, которыми являются неровности от механической обработки, включения, точечная коррозия и локальный износ.
Основной характеристикой для описания умения материала сопротивляться усталости является предел выносливости (усталости) – максимальное напряжение цикла, при котором не происходит разрушения образца на заданном количестве циклов нагружения (базе испытаний).

База испытаний – количество циклов нагружения, на котором проводят испытания образца. Часто достигает значений 106…108 циклов.
Для определения предела выносливости проводят испытания, при которых образец многократно (часто с высокой частотой из-за количества циклов нагружения) нагружается в противоположных направлениях, либо только в одном направлении.
По итогу испытаний строится график в координатах «напряжение-количество циклов нагружения», так называемая кривая Веллера.
По ней можно определить предел выносливости для стального образца – пологий участок кривой, алюминиевый же не имеет предела выносливости, т.к. напряжение для его разрушения непрерывно падает с увеличением количества циклов нагружения.

Ниже приведена расчетная и экспериментальная кривые Веллера для алюминиевого сплава АМг-6.

Кривая Веллера для сплава АМг-6.
Сплошная линия – численный расчет, точки – экспериментальные данные.
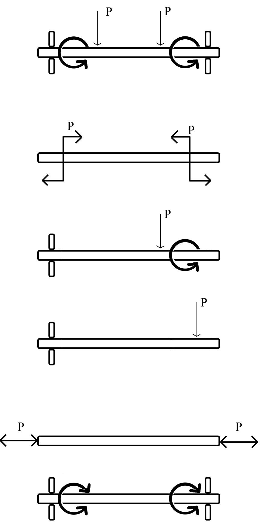
Основные схемы нагружения:
– чистый изгиб с вращением;
– чистый изгиб в одной плоскости;
– поперечный изгиб при вращении консольно закрепленных образцов;
– поперечный изгиб консольно закрепленных образцов в одной плоскости;
– растяжение и сжатие;
– переменное кручение круглых образцов;
– нагружение сосудов внутренним давлением.
Для испытаний подойдёт любое оборудование, способное прикладывать нагрузку, согласно выбранной схеме. Так для малоцикловых испытаний возможно использование универсальных испытательных машин ЭВОТЕХ.
На территории Российской Федерации основным документом, регламентирующим усталостные испытания является ГОСТ 25.502-79.

Введите ваше Имя и Фамилию:
Отправитьили
Войдите, чтобы оставить комментарий